ECONOSTO
Butterfly Valve

4930

Econ® PTFE-lined butterfly valve, ring type with centric disc. Disc and shaft are manufactured as a one piece unit. The PTFE lining extends to over the flange sealing surfaces and is pressed against the disc by means of cup springs to guarantee a perfect stem seal.

The two-piece body of ductile cast iron features four centring holes and is suitable for installation between flanges rated DIN PN 10/16 and ANSI 150#. Short Face To Face acc. to ISO 5752-20 and DIN 3202/3 K1.

The body is fitted with a top flange acc. to ISO 5211 as required for fitting of various manual controls or automatic controls. This type of butterfly valve is generally used in systems for corrosive and hazardous liquids, and gases up to a maximum of 16 bar (PN 16 model). Designed for use on chemical tankers, this valve carries a type approval by Bureau Veritas.

FEATURES

Connections Wafer type
Body material Aluminium
Valve butterfly material Stainless steel
Pressure rating PN 10
Flange pressure rating PN 10
Operation None
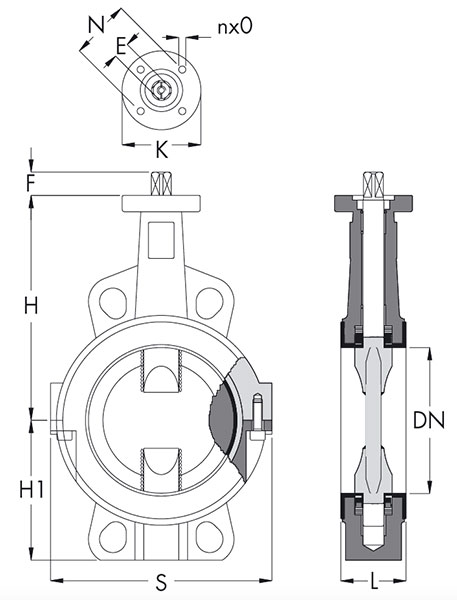
DN
[mm]
EFHH1KLNnx0SWeight excl.
actuator [kg]
Kv value
32/40 11 19 125 69 90 33 50/70 4x6,5/9 146 2.7 95
50 11 19 134 69 65 43 50 4x6,5 110 2.5 193
65 11 19 144 69 65 46 50 4x6,5 115 3.7 193
80 11 19 159 92 65 46 50 4x6,5 130 4.3 392
100 14 19 174 107 65 52 50 4x6,5 155 6.2 585
125 14 19 194 120 65 56 50 4x6,5 180 7.9 1015
150 17 25 209 132 90 56 70 4x9 210 10.5 1495
200 17 25 239 162 90 60 70 4x9 260 16.2 3050
250 22 32 274 199 125 68 102 4x11 320 25 4510
300 22 32 309 233 125 78 102 4x11 370 34.3 7210
350 27 40 350 257 155 78 125 4x13,5 450 50 8760
400 27 40 380 287 155 102 125 4x13,5 505 68 11350